وانغ يانغ مضخة المحدودة مضخات المحدودة
 :info@wypumps.com  :    + 86-13912908767
  • اسم المنتج
  • الكلمة
  • نموذج المنتج
  • ملخص المنتج
  • وصف المنتج
  • البحث عن النص الكامل
  • اسم المنتج
  • الكلمة
  • نموذج المنتج
  • ملخص المنتج
  • وصف المنتج
  • البحث عن النص الكامل

فئة المنتج

loading

VHS سلسلة عمودي الجوف محرك رمح

الكمية:
sharethis sharing button

الميزات والتطبيقات:

تعد سلسلة VHS للمحركات ذات الأعمدة العمودية ، أحدث المنتجات في مصنعنا ، عبارة عن ثلاث محركات تحريرية لأقفاص السنجاب مصممة خصيصًا لقيادة مضخات التوربينات العميقة ذات الآبار العميقة.

تتميز المحركات بالكفاءة العالية ، وعزم الدوران العالي ، والتشغيل الهادئ ، والاهتزاز المنخفض ، وارتفاع درجة الحرارة ، ويمكن أن تحمل الحمل المحوري الثقيل ، ولها بنية مدمجة وموثوقة مع سهولة الصيانة وما إلى ذلك. درجات الإخراج المقدرة تتوافق مع معيار IEC.

بعد أن تم تزويدها بمضخات رأسية ، تستخدم المحركات على نطاق واسع في ضخ المياه الجوفية في المناجم والمدينة والمزرعة والمصانع وما إلى ذلك. درجة الحماية من النوع المحمي من عوامل الطقس 1 (مقاومة للتقطر)


الترتيب:

عند إجراء استفسار أو طلب محرك ، يرجى تقديم المعلومات التالية:

● حصان أو كيلوواط الإخراج

● سرعة

● الجهد

● تردد

● الطبقة العازلة

● درجة الحرارة المحيطة

● مسند ظهر عكسي ، إذا لزم الأمر

● طريقة البدء

● ما لم يتم تحديد خلاف ذلك في وقت الطلب ، فإن قوة الهبوط للمحرك ستكون قياسية.


محركات الأغراض الخاصة:

نوفر أيضًا محركات VHS ذات التطبيقات المختلفة ، وهي ذات الجهد المقنن أقل من 500 فولت ، وتردد 60 هرتز ، فئة العزل إما B أو F إلخ.

يمكننا أيضا تزويد المحركات الأخرى ذات الأغراض الخاصة ، إذا لزم الأمر يرجى الاتصال بنا مباشرة. .

نحن على استعداد لخدمتك بكل سرور.


التقييمات والأداء:

نموذج

تقييمه
انتاج |
(حصان / كيلوواط)

تقييمه
تيار
(ا)

تقييمه
الجهد االكهربى
(الخامس)

تقييمه
تكرر
(هرتز)

متزامن
سرعة
(ص / دقيقة)

التوجه لأسفل
(اساسي)

عازلة
صف دراسي

درجة
حماية

(N)

(IB)

VHS160-1-2

15/11

22.5 / 22

380

50

3000

9800

2200

B، F

IP23

VHS160-2-2

20/15

30

VHS160-1-4

15/11

23 / 22.5

1500

12740

2860

VHS160-2-4

20/15

30

VHS180-1-2

25 / 18.5

36

380

50

3000

12740

2860

B، F

IP23

VHS180-2-2

30/22

43 / 42.5

VHS180-1-4

25 / 18.5

37

1500

15680

3520

VHS180-2-4

30/22

43.5 / 43

VHS200-1-2

40/30

58

380

50

3000

16660

3740

B، F

IP23

VHS200-2-2

50/37

70.5 / 70

VHS200-1-4

40/30

58.5

1500

21560

4850

VHS200-2-4

50/37

72/71

VHS200-3-4

60/45

85 / 85.5

VHS250-1-4

75/55

105.5 / 103.5

380

50

1500

28420

6390

B، F

IP23

VHS250-2-4

100/75

139.5 / 140

VHS250-3-4

125/90

173 / 167.5

VHS280-1-4

150/110

205.5 / 202

380

50

1500

39200

8810

B، F

IP23

VHS280-2-4

175/132

238/241

VHS280-3-4

200/150

275/276

VHS280-4-4

250/185

348/345

VHS280-5-4

270/200

374/371

VHS280-6-4

300/220

415/408

VHS355-1-4

380/280

500

380

50

1500

63560

14000

F

IP23

VHS355-2-4

400/300

526/536

VHS355-3-4

430/315

565/563

108960

24000

VHS355-4-4

450/335

591/598

VHS355-5-4

480/355

630/634

VHS355-6-4

500/370

657/661

VHS132-1-2

7.5 / 5.5

11 / 0.8

380

50

3000

7840

1760

F

IP54

VHS132-2-2

10 / 7.5

14.4 / 14.5

VHS180-1-2

15/11

22.5./22

380

50

3000

9800

2200

F

IP54

VHS180-2-2

20/15

30

VHS180-1-4

15/11

23 / 22.5

1500

12740

2860

VHS180-2-4

20/15

30

VHS200-1-2

25 / 18.5

36

380

50

3000

12740

2860

F

IP54

VHS200-2-2

30/22

43 / 42.5

VHS200-1-4

25 / 18.5

37

1500

15680

3520

VHS200-2-4

30/22

43.5 / 43

VHS225-1-2

40/30

56.8 / 58

380

50

3000

16660

3740

F

IP54

VHS225-2-2

50/37

70.5 / 70

VHS225-3-2

60/45

83/85

VHS225-1-4

40/30

58 / 58.5

1500

21560

4850

VHS225-2-4

50/37

72/71

VHS225-3-4

60/45

85 / 85.5

VHS280-1-4

75/55

105.5 / 103.5

380

50

1500

28420

6390

F

IP54

VHS280-2-4

100/75

139.5 / 140

VHS280-3-4

125/90

173 / 167.5

VHS315-1-4

150/110

205.5 / 202

380

50

1500

39200

8810

F

IP54

VHS315-2-4

175/132

238/241

VHS315-3-4

200/150

275/276

VHS315-4-4

250/185

348/345

62720

14094

VHS315-5-4

270/200

374/371

VHS355-1-4

300/220

405.9 / 405

380

50

1500

74620

16770

F

IP54

VHS355-2-4

350/260

480/475

VHS355-3-4

380/280

513.6 / 515

VHS355-4-4

400/300

539.2 / 550

VHS355-5-4

430/315

576.9 / 575

VHS355-6-4

450/335

614/615

VHS355-7-4

480/355

645.9 / 650

VHS355-8-4

500/375

671.3 / 685

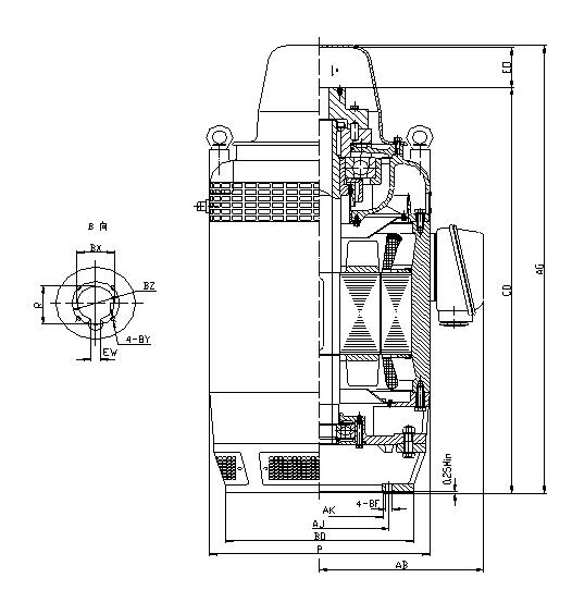
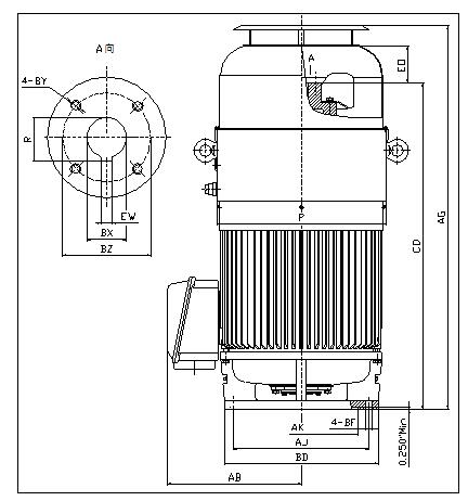
أبعاد التركيب الكلي:

VHS (IP23) سلسلة VERTICAL HOLLOW-SHAFT MOTORS

سلسلة VHS (IP54) VERTICAL

HOLLOW-SHAFT MOTORS TEFC


على: 
تحت: 

حول

ربط

اتصل

هاتف: + 86-25-57116860
هاتف: + 86-13912908767
البريد الإلكتروني:info@wypumps.com
إضافة: رقم 3 شارع شياو ، مجمع شيونغتشو الصناعي ، لوهي ديستسيت ، نانجينغ ، جيانغسو ، الصين
حقوق الطبع 2018. نانجينغ وانغ يانغ مضخة المحدودة. جميع الحقوق محفوظة.خريطة الموقع